调整垫铁 减振垫铁

垫铁 减振垫铁 机床垫铁 等高垫铁 梯形垫铁 S78-7系列机床调整垫铁

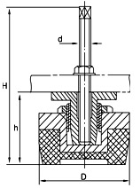
垫铁 减振垫铁 机床垫铁 S78-7系列机床调整垫铁
S78-7系列机床减振垫铁(高档型)
型号
s78-7-01
s78-7-02
s78-7-03
s78-7-04
外径(D)
mm
80
120
160
200
inches
3_5/32
4_23/32
6_5/16
7-7/8
高度(H)
mm
49
56
67
80
inches
1_59/64
2_13/64
2_41/64
3_5-32
螺纹(d)
mm
M10
M12
M16
M20
可调高度
mm
10
10
12
14
inches
25/64
25/64
15/32
9/16
单件承载
F(N)
800-4000
3100-7500
7000-12000
11000-48000
快速查看机床减振垫铁型号
S78系列机床减振垫铁(高档型) S78系列机床减振垫铁(高档型)
S77系列机床减振垫铁(高档型) S79系列机床减振垫铁(高档型) PS充气式减振垫铁(高档型)
S78-4系列机床减振垫铁(高档型) S78-5系列机床减振垫铁(高档型) S78-6系列机床减振垫铁(高档型)
S78-7系列机床减振垫铁(高档型) S78-8系列机床减振垫铁(普通型) S83系列机床调整垫铁(重型)
S85系列机床调整垫铁(重型)